Монтаж, Наладка и Эксплуатация автоматических устройств в деревообрабатывающей промышленности, ремонт дома, квартиры, дачи и офиса, мебель и многое другое!
Чертежи
Control panels.jpg
Control panels
Наши партнеры
Популярные статьи
Комментарии
Облако тегов

Автоматические устройства

Суббота, 03 Март 2012 15:17

Схема поиска неисправностей

Автор 
Оцените материал
(0 голосов)

 

Схема поиска неисправностей

 

 

Схема поиска неисправностей

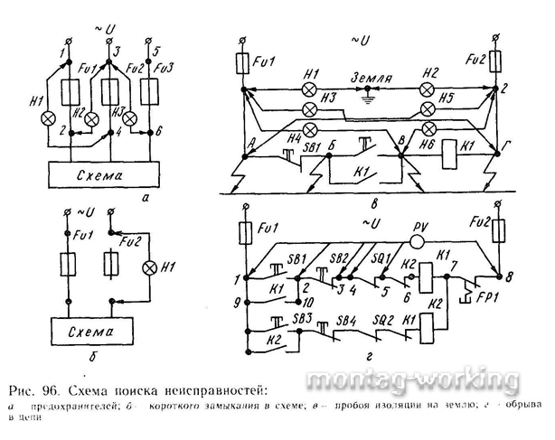
Для определения сохранности вставок плавких предохранителей необходимо произвести следующие тесты. Прикасаются контактами указателя напряжения (контрольной лампы) к точкам 1—4, 2—3, 3—6 или 1—6 схема поиска (рис. 96,а).



23


Если лампы горят во всех точках, то вставки целы. Если не горит лампа Н1 (первый тест), то предохранитель Fu2 перегорел; не горит лампа Н2— (второй тест) перегорел. предохранитель Fu1 не горит лампа НЗ — перегорел предохранитель Fu3.


Для выявления короткого замыкания вместо одного предохранителя включают контрольную лампу схема поиска (рис. 96,б). Лампа должна иметь, возможно, меньшее внутреннее сопротивление (мощность 150...200 Вт). При коротком замыкании лампа будет гореть полным накалом. Для определения пробоя на землю необходимо контрольную лампу включать между точкой 1 и точкой «Земля» (заземленной металлоконструкцией), а затем — между точкой 2 и «Землей» схема поиска (рис. 96,в). Если лампа Н1 горит полным накалом, то пробой на землю (предохранитель Fu2 перегорел) в точке Г; если горит лампа H2, то пробой в точках А, Б или В. При пробоях на землю в точке В предохранитель Fu1 после замены не перегорает до нажатия на кнопку SB2. Для выявления точного места замыкания необходимо сделать еще ряд проверок.


Пробой в точке Г — горит лампа НЗ (предохранитель Fu2 перегорает сразу после подачи напряжения на схему). Пробой в точке А — горит лампа Н5 при нажатой кнопке SB1. Если лампа Н5 гаснет при нажатии кнопки, то пробой в точке Б (предохранитель Ful перегорает). Пробой в точке В — горят лампы Н4, Н6.


В системах автоматики, питающихся напряжением 110; 127 В, вместо контрольной лампы можно использовать искатель напряжения УНН90.


Причины несрабатывания аппаратов зависят от особенностей конкретной схемы. На рис. 96,г приведена схема поиска неисправностей в системе пуска реверсивного двигателя. Неисправность — при нажатии на кнопку, не включается двигатель (конечный выключатель не нажат). Присоединяем вольтметр PV с большим внутренним сопротивлением к точкам 1, 8; показания вольтметра — U, следовательно, к этим точкам подводится напряжение. Подключаем вольтметр PV последовательно к точкам 2,8, 3,8; показание U (кнопка SB1 нажата). При присоединении вольтметра к точкам 3,8 — показания нуль. Следовательно, имеется обрыв проводника между точками 4 и 3.


В более сложных схемах в цепи имеются замыкающие контакты аппаратов, включение которых во время поиска нежелательно по условиям работы схемы; можно временно шунтировать эти контакты.


Известны характерные неисправности, которые позволяют сузить зону поиска. Например, реле К2 не встает на самопитание. Можно сразу сказать, что имеет место обрыв провода между точками 2,10 или 1,9 или не замыкается блок-контакт К2.


При ремонте заменяют выходящие из строя провода, элементы аппаратов (контакты, обмотки) или целиком аппараты и блоки.


Прочитано 1820 раз Последнее изменение Понедельник, 06 Август 2012 18:11

Оставить комментарий

Убедитесь, что вы вводите (*) необходимую информацию, где нужно
HTML-коды запрещены