У неисправных МИС или элементов управления сигнал на выходе отличен и от логического нуля, и от единицы. Выходной сигнал должен соответствовать комбинации сигналов на входе и преобразовательной функции микросхемы (логические преобразования, счет, кодирование и др.). Микросхема должна реагировать на изменения комбинаций входных сигналов в соответствии с таблицами состояний.
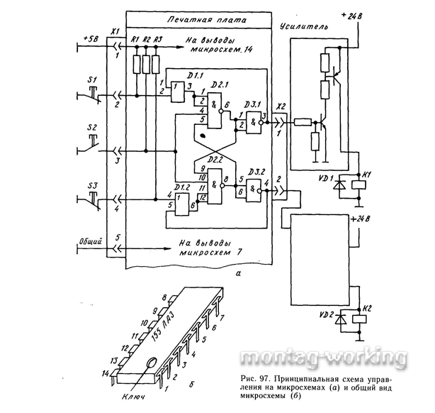
На рис. 97 показана схема управления реверсивным электродвигателем, построенная на базе микросхем D1 (К155ЛД1), D2 (К155ЛА1) и D3 (К155ЛАЗ), расположенных на печатной плате. При нажатии на кнопку S1 с выхода микросхемы D3.1 сигнал через транзисторный усилитель подается на магнитный пускатель К1, который включит управляемый электродвигатель в прямом направлении.

Для реверса необходимо кнопкой S2 отключить пускатель К1 (эта же кнопка отключит и пускатель К2). Затем кнопкой S3 запустить пускатель К2. В табл. 27 приведены состояния входов и выходов микросхем при различных комбинациях подачи входных сигналов (нажатием кнопок SI, S2, S3). Схема построена на элементах К155, у которых логическому нулю соответствует уровень 0...0,4 В, а логической единице — 2,6...5 В.

При исследовании схема-плата извлекается из узла. К плате подводится питание 5 В, а входные сигналы имитируются путем соединения с общей клеммой соответствующих клемм разъема XI. Разъем Х2 служит для присоединения выходов схемы к усилителям и пускателям, которые обычно монтируют на отдельных платах или металлоконструкциях. Уровни сигналов на выводах микросхем могут быть измерены с помощью вольтметра.
