Монтаж, Наладка и Эксплуатация автоматических устройств в деревообрабатывающей промышленности, ремонт дома, квартиры, дачи и офиса, мебель и многое другое!
Чертежи
Setevoy grafik.jpg
Setevoy grafik
Наши партнеры
Популярные статьи
Комментарии
Облако тегов

Автоматические устройства

Среда, 28 Ноябрь 2012 20:09

Проверка электронного регулятора Р25

Автор 
Оцените материал
(1 Голосовать)

 

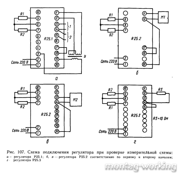
Проверка электронного регулятора Р25

 

 

Электронный регулятор

Проверка включает в общем случае следующие операции: подготовку прибора — подключение входных преобразователей и выходных устройств (или приборов, заменяющих их), контрольных приборов; выполнение соединений и подача питания; определение работоспособности измерительной схемы, диапазона изменения сигнала, поступающего на вход регулирующего блока, и возможность балансировки прибора и регулировки уровня входного сигнала; определение реакции прибора на изменения задания и зоны нечувствительности, длительности импульса, времени интегрирования, а также реакции прибора на команды, подаваемые органами дистанционного управления.



8


Рассмотрим более подробно последовательность действий при проверке прибора Р25.1, который работает в комплексе с дифференциально-трансформаторными датчиками. Прибор подготавливают к проверке. Для этого клеммы 17...18 (рис. 107,а) закорачиваются (клеммы расположены на задней стенке кожуха прибора), а к клеммам 7, 8 и 8, 9 присоединяют резисторы на 115 Ом, 10 Вт. Органы управления установить в следующее положение: подключить к прибору дифференциально-трансформаторный датчик В к клеммам 3, 19 первичную обмотку, а к клеммам 11, 12 вторичную. Кнопку 15 поставить в положение «утоплена», нажать, а кнопку 13 в положение XI (отжать). Ручки потенциометров (см. рис. 106,а) 8, 12, 14, 16, 19, 23, 24, 25 установить в крайнее левое положение, потенциометр 4 „Задание“ и 22 „Корректор“ установить в положение 0 (среднее положение), подать напряжение 220 В на клеммы 1...2.


Производят проверку измерительной схемы прибора. Поворачивают потенциометр К1 (25) (см. рис. 106,а) до упора вправо и измеряют по индикатору 21 сигнал рассогласования (сигнал должен быть около 5 В). В случае отсутствия индикатора к гнездам Е и ОТ (11 и 9 на рис. 106,а) подключают вольтметр постоянного тока.


Потенциометром „Корректор“ (22) добиваются балансировки прибора. Но затем потенциометры 22 и 25 возвращают в исходное положение. Эти операции могут быть проделаны по всем входам.


Проверяют работу регулируемого блока. Вращая рукоятку, добиваются погасания индикаторов 17 и 18. При смещении от положения баланса на 0,5% (на 0,5 делений) влево или вправо должен загореться соответственно индикатор Меньше или Больше. При этом между клеммами 7,8 и 8, 9 должно возникать постоянное напряжение 21...27 В. Напряжение измеряют вольтметром. В положении баланса напряжение на клеммах 7, 8 и 8, 9 не должно быть более 0,5 В.


Потенциометром „Задание" балансируют прибор, и потенциометр "Зона" (19) поворачивают вправо до упора. При этом положении потенциометра 19 загорание индикаторов 17 и 18 должно происходить при повороте потенциометра „Задание“ на 2,5 деления относительно положения баланса. Проверяют работу регулятора в режиме ПИ-регулятора. Прибор сбалансирован потенциометром „Задание“ при среднем значении зоны нечувствительности. Отжимают кнопку 15 (переводят переключатель в положение ПИ), и ручку потенциометра Кп63 (14) поворачивают вправо на 5...8 делений. Разбалансируют прибор поворотом потенциометра „Задание“ на 2...3 деления. Загорается один из индикаторов 17, 18 (в зависимости от направления поворота потенциометра 4). Через 10... 15 с индикатор погаснет, и через некоторый промежуток времени вновь загорится на 10... 15 с. При вращении потенциометра „Импульс“ (16) вправо должна увеличиться длительность импульсов включения индикатора и длительность пауз. При крайнем правом положении потенциометра 16 при вращении потенциометра Кп63 (14) должна увеличиваться пауза между включениями индикатора, а нажатие кнопки 13 должно привести к увеличению паузы в 10 раз.


Проверяют прибор в режиме ручного управления. Переключатель 7 переводят в положение Р. При повороте ключа 6 влево (см. знак увеличения регулируемой величины на рис. 106,а) или вправо (противоположный знак) на клеммах 7, 8 и 8, 9 соответственно должно возникать напряжение 22.. .29 В.


Измерительную схему прибора Р25.2 проверяют по двум каналам. При проверке по первому каналу собирают схему, показанную на рис. 107,6. Рукоятки потенциометров и кнопки устанавливают так же, как при проверке Р25.1. На магазине Ml устанавливают сопротивление 75 Ом. Потенциометр „Задание“ (4) (рис. 106,а) устанавливают в среднее положение, а потенциометр К2 (24) в крайнее правое положение. Потенциометром „Корректор" (22) балансируют измерительный блок (индикаторы 17, 18 гаснут). Уменьшая сопротивление магазина, убеждаются, что включится индикатор 18 (больше), а при увеличении сопротивления — индикатор 17 (меньше). Разность сопротивлений, при которых загораются индикаторы 17 и 18, должна быть не более 0,4 Ом.


Проверка по второму каналу проводится аналогично, но схема выполняется по рис. 107,в, сопротивление магазина М2 53,6 Ом, и вместо потенциометра К2 используют потенциометр КЗ (23) (см. рис. 106).


Приборы Р25.3 при проверке подключают по схеме, приведенной на рис. 107,в. Резистор R3 имеет сопротивление 100 Ом. Потенциометры и кнопки устанавливают на субблоке Р011 в такое же положение, как при проверке прибора Р25.1. Потенциометр „Задание" (4) (см. рис. 106,а) устанавливают в крайнее левое положение. Потенциометры К (33) и мВ (32) (см. рис. 106,6) установить в крайнее левое положение, кнопки 29, 30, 31 отжать. После подачи напряжения потенциометром „Корректор нуля“ (28) сбалансировать прибор (индикаторы 17, 18 должны погаснуть). При повороте потенциометра 28 в крайнее левое положение должен загореться индикатор 17, а при повороте вправо — индикатор 18. При загорании индикаторов на соответствующих выходных клеммах прибора (7, 8 и 8, 9) должен быть сигнал 21...27 В, а при негорящих индикаторах 0,5 В. Далее прибор сбалансировать потенциометром 28. Потенциометр 32 повернуть в крайнее левое положение (или нажать кнопку 31) — задание будет равно 9…11 мВ. Стрелка индикатора 21 должна отклониться вниз на показание 50 мА.


Регулирующий блок проверяется так же, как у регуляторов Р25.1. Исправные регуляторы (те, которые имеют правильные реакции на возмущение со стороны датчиков или органов управления) поступают в эксплуатацию.

 


Если вы хотите сделать себе увеличение губ, на сегодняшний день это не проблема. Може просто перейти на наш сайт и вы узнаете всю нужную и интересную информацию для себя.

Прочитано 5244 раз Последнее изменение Пятница, 16 Октябрь 2015 06:08

Оставить комментарий

Убедитесь, что вы вводите (*) необходимую информацию, где нужно
HTML-коды запрещены